Overview
Hybrid processing involves depositing layered or composite coating architecture using sequential or simultaneous feeding of powder and liquid feedstock, respectively. Independently controlled micron sized powder feedstock and liquid precursor solution are fed into the plasma spray plume to form the desired coatings. The concept is extremely convenient to adopt, as it involves only a minor modification in the injection arrangement in any existing thermal spray facility.
Key Features
The concept of hybrid processing opens possibilities for depositing coatings with diverse architecture
- Layered coatings by sequential feeding of liquid and powder feedstock
- Composite coatings by simultaneous feeding of liquid and powder feedstock
- Graded coatings by simultaneous feeding of liquid and powder feedstock, while continuously varying the feed rates of one or both feedstocks.
In each of the above cases, use of a liquid feedstock leads to splats that are nearly two orders of magnitude smaller than the splats from conventional thermal spray. Thus, a very unique combination of fine-coarse microstructure, not typically realizable using conventional thermal spray routes, is possible.
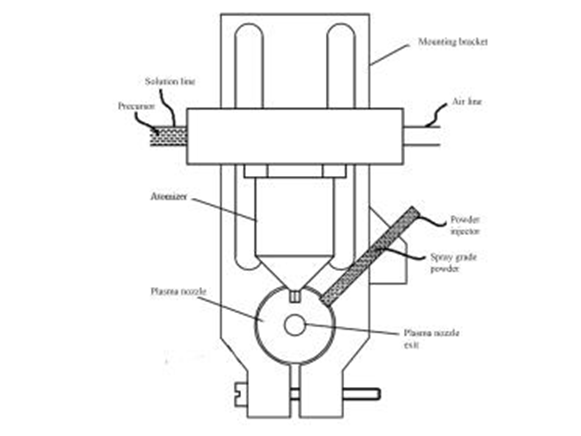
Schematic of hybrid APS+SPPS process
Thermal cycling and erosion performance of composite YSZ coating
Potential Applications
- Composite YSZ based TBCs for gas/steam turbine applications
- Composite alloy/metallic + ceramic coatings for wear resistance
- Oxide dispersed coatings for elevated temperature applications
Status
- Developed wide ranging functional coatings for diverse industrial applications
- Prototype demonstration of various coatings is in progress
Intellectual Property Development Index (IPDI)
Level
1
2
3
4
5
6
7
8
9
10
Description
Basic concepts and understanding of underlying scientific principles
Shortlisting possible applications
Research to prove technical feasibility for targeted application
Coupon level testing in simulated conditions
Check repeatability/consistency
Prototype testing in real-life conditions
Check repeatability/consistency
Reassessing feasibility (IP, competition technology, commercial)
Initiate technology transfer
Support in stabilizing production
Status
| Level | 1 | 2 | 3 | 4 | 5 | 6 | 7 | 8 | 9 | 10 |
|---|---|---|---|---|---|---|---|---|---|---|
| Description | Basic concepts and understanding of underlying scientific principles | Shortlisting possible applications | Research to prove technical feasibility for targeted application | Coupon level testing in simulated conditions | Check repeatability/consistency | Prototype testing in real-life conditions | Check repeatability/consistency | Reassessing feasibility (IP, competition technology, commercial) | Initiate technology transfer | Support in stabilizing production |
| Status |
|
|
|
|
|
For more details on Intellectual Property Development Indices, Click here
- G. Sivakumar and S.V. Joshi, ‘An improved hybrid methodology for producing composite, multi-layered and graded coatings by plasma spraying utilizing powder and solution precursor feedstock’, Indian Pat. No. 2965/DEL/2011 dt. 17th Oct, 2011
- A. Lohia, G. Sivakumar, M. Ramakrishna and S.V. Joshi, “Deposition of Nanocomposite Coatings employing a Hybrid APS + SPPS Technique”, Journal of Thermal Spray Technology, 23(7), 1054-1064, 2014
- S.V. Joshi and G. Sivakumar, Hybrid processing with powders and solutions: A novel approach to deposit composite coatings, Journal of Thermal Spray Technology, 24 (7), pp. 1166-1186, 2015